The durability and longevity of Vulcan pile hammer is something that is seldom replicated in just about any other manufactured product. Since pile driving is self-destructive on the equipment, this is a remarkable achievement, but it should be tempered by the fact that it's possible to render a Vulcan hammer inoperable by the way it's … Continue reading Vulcan’s Blow Count Specifications
Category: Vulcan Offshore Tips
Vulcan Offshore Tips: Introduction and Index
More details on the repair, maintenance and operation of Vulcan hammers can be found in the Vulcanhammer.info Guide to Pile Driving Equipment. Tip Number Title (click on title for tip you want to see) Corresponds to Onshore Tip 001 Head Gasket/Single Acting Hammer 1 002 Ram Keys Too Tight 8 003 Tightening the Packing Gland … Continue reading Vulcan Offshore Tips: Introduction and Index
Vulcan Offshore Tip #25: Slide Bar Gripper Modification
Many Vulcan hammer users have expressed interest in a method other than the pipe plug retainers to keep the slide bar gripper wedges in place on Vulcan's largest hammers. Above such a method is shown; the pipe plugs being removed and the bolt and nut arrangement installed as shown above. For users of metric parts, … Continue reading Vulcan Offshore Tip #25: Slide Bar Gripper Modification
Vulcan Offshore Tip #24: Replacing the Packing
When replacing the packing, the pieces closes to the piston rod will be the ARAMID FIBER (yellow in color) with the remainder being the woven FIBERGLASS. Many Pile Hammer mechanics have a tendency to tighten the Packing Gland too tight. A little steam or air leaking through the Packing is not objectionable. The oil mixed … Continue reading Vulcan Offshore Tip #24: Replacing the Packing
Vulcan Offshore Tip #23: Lubrication
Below are the lubrication specifications for the Vulcan offshore pile hammers. Above is a hammer diagram showing the locations of lubricant applications. APPLICATION POINT Lube Type Oil Viscosity Flash Point (Min.) Other Requirements SUS, 212° F cSt, 100°C Deg. F Deg. C Cylinder and Base Jaws. Trip Faces. Slide Bar. Slide Bar Dovetail. Columns/Ram Grease … Continue reading Vulcan Offshore Tip #23: Lubrication
Vulcan Offshore Tip #22: Hammer Center of Gravity
Below are listed the center axial centers of gravity for Vulcan Offshore Hammers. HAMMER SIZE CENTER OF GRAVITY Inches 020 73.0 030 84.0 340 93.0 530 99.0 360 94.0 540 108.0 3100 118.0 560 109.0 5100 131.0 5150 124.0 4250 129.0 6300 140.0 Note: Tip dated 1 August 1980. Some Vulcan sales people also carried … Continue reading Vulcan Offshore Tip #22: Hammer Center of Gravity
Vulcan Offshore Tip #21: Pipe Cap Dimensions
In addition to the cushion block size, another important input to the wave equation analysis is the size of the pipe cap (or anvil) block. Below are the basic dimensions for the pipe caps along with the depth of the steps. HAMMER SIZE A BDIA. C D E F° GR. 010 8 32 40 10 … Continue reading Vulcan Offshore Tip #21: Pipe Cap Dimensions
Vulcan Offshore Tip #20: Cushion Pot Dimensions
Frequently in the course of designing a foundation, the dimensions of the cushion block are necessary for purposes of computing its stiffness for the wave equation analysis. Below are the cushion pot dimensions for our air/steam hammers: Hammer A B C D E F 2, 30C 10 1/4 7 1 1/2 - - - 1, … Continue reading Vulcan Offshore Tip #20: Cushion Pot Dimensions
Vulcan Offshore Tip #19: Bar and Suspension Head Dimensions
In order to provide the suspension cables for a Vulcan Offshore Hammer, the following dimensional data are provided for bar and suspension heads. HAMMER DIMENSION (SEE FIGURE), INCHES Bar and Suspension Heads Suspension Head Only A B C D E F G 010 3 1/4> 4 4 1/2 7 - - - 014/016/140C 4 1/4 … Continue reading Vulcan Offshore Tip #19: Bar and Suspension Head Dimensions
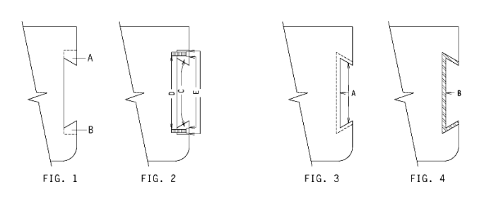
Vulcan Offshore Tip #18: Dovetail Repair
As your Vulcan Offshore Hammers grow older, it is unavoidable that wear occurs in the Dovetail Guide in the Cylinder that guides and retains the slide bar. Excessive wear in this Dovetail Guide can cause damage to not only the Slide Bar but the Trip and the Valve Stem. Where replaceable dovetail inserts are not … Continue reading Vulcan Offshore Tip #18: Dovetail Repair

