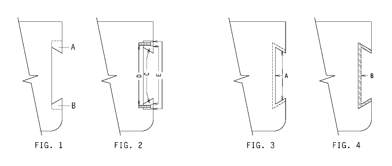
As your Vulcan Offshore Hammers grow older, it is unavoidable that wear occurs in the Dovetail Guide in the Cylinder that guides and retains the slide bar. Excessive wear in this Dovetail Guide can cause damage to not only the Slide Bar but the Trip and the Valve Stem. Where replaceable dovetail inserts are not standard equipment, the following methods of dovetail repair are recommended- Two repair methods are shown above in 1 & 2 depending on wear conditions in the Dovetail.
Repair method I is recommended when the majority of the wear has taken place on the angular surface of the Dovetail and the bottom flat surface does not require repair. The steps to follow for repair are as follows:
- Remove by machining worn dovetail surfaces as shown at A & B, Illustration #1.
- Manufacture BRONZE replacement gibs of appropriate size. as shown at C, Illustration #2. SAE 660 Bronze is recommended.
- Drill and tap Cylinder for cap screws as shown at D, Illustration #2.
- After installation of gibs, it is necessary to centerpunch each cap screw in at least three locations on its periphery to prevent backout as shown at E, Illustration #2.
Repair method 2 is recommended when wear has taken place on all three Dovetail surfaces (bottom and two angular sides). The steps to follow for repair are as follows:
-
- Remove by machining 1/16″ of surface metal on all three surfaces as shown at A, Illustration #3. This is to remove work hardened surfaces from worn areas.
- Build up all three surfaces with sufficient material to allow for remachining by either of the following methods:
- Arc brazing with Bronze rod.
- Arc welding with 100% Nickel rod.
- Gas brazing and gas welding are not recommended for cast iron material in this area of the cylinder.
- Remachine built up Dovetail area back to original factory dimensions as at B, Illustration #4.
IMPORTANT
When restoring Slide Bar Dovetails, it is absolutely essential that restored surfaces conform to original dimensional relationships with the center lines of the cylinder and Valve Chest. Contact factory for specific dimensions before proceeding.
Note: Method #1 seldom addresses real dovetail repair problems because the dovetail seldom wears only on the angled surfaces, but on the back as well. A more satisfactory solution to this problem would be to use the removable and replaceable Slide Bar Guide Block as Raymond used, but Vulcan never adopted this solution on its hammers.


2 thoughts on “Vulcan Offshore Tip #18: Dovetail Repair”