The introduction to this series is here. Moscow, 1963 Head of the Vibrating Machine Department L. PetrunkinHead of Vibration Machine Construction: I. FriedmanCompiler: V. Morgailo and Krakinovskii Specification The impact-vibration hammer is intended for driving heavy sheet piles up to 30 cm in diameter as well as concrete piles 25 cm square up to a … Continue reading Soviet S-834 Impact-Vibration Hammer: Calculations, Part I
Category: The Company
Soviet S-834 Impact-Vibration Hammer: Overview
With this we begin a series of posts on the S-834 impact-vibration hammer, which the VNIIstroidormash institute in Moscow designed and produced in the early 1960's. With the revived interest in Soviet and Russian technology, it's a detailed look at how Soviet equipment designers came up with an equipment configuration. But it's also a close-up … Continue reading Soviet S-834 Impact-Vibration Hammer: Overview
The Valve Loss Study
All fluid flow in Vulcan hammers is regulated and directed by a valve. For most Vulcan hammers (the California series being a notable exception, the #5 is another) the valve is a Corliss type valve modified from those used in steam engines. Simple and reliable, it, like any other valve, is subject to losses as … Continue reading The Valve Loss Study
Back in the Saddle at the Deep Foundations Institute
Vulcan Iron Works was involved in its industry in a number of ways other than simply selling and renting its product. One of these was its years in the Deep Foundations Institute. Although Vulcan was not a charter member of the organisation, it joined very shortly after its beginning and was active during the 1980's … Continue reading Back in the Saddle at the Deep Foundations Institute
Engineering at Vulcan
Vulcan would have never endured as long as it did without a properly engineered product, especially in the punishing environment of impact pile driving equipment. There is a great deal of technical information on this site; here we give a glimpse as to how much of it came into being. There are special sections on … Continue reading Engineering at Vulcan
Vulcan Iron Works: The Company
Vulcan had a long and interesting history. Some of that is documented below: Vulcan: The First 100 Years A history in words and photos of Vulcan's first century of existence Vulcan Iron Works Centennial Celebration Vulcan: The Offshore Experience A comprehensive view of Vulcan and its offshore hammers Product Bulletins: a list of the literature … Continue reading Vulcan Iron Works: The Company
Vulcan Patents
Vulcan S/N 463, manufactured in 1908, sporting its then valid patent...wait, the patent number's wrong, it should be 378,745, as you can see below. Vulcan was an innovator in pile driving equipment for more than a century. This history can be documented in part by the patents that were issued to Vulcan's people, in addition … Continue reading Vulcan Patents
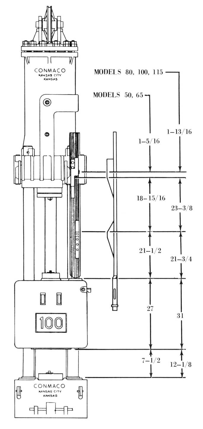
Conmaco
Conmaco 300 hammer at Vulcan's facility in Chattanooga, where it was manufactured (see below.) Vulcan’s success in its product lines inspired imitators. One of the most significant of those came from its own distributor network—Conmaco. The relationship between the two companies was as complicated of a business as one could want, both together and apart. … Continue reading Conmaco
Vulcan vs. the Machinists’ Union: The Turkey Grievance
Although Vulcan's relationship with the Machinists' trade union at its Chattanooga facility was generally reasonable as such things go, every now and then conflict would arise outside of the triennial (usually) contract negotiations. Probably the most significant of these conflicts--and certainly the best publicised--was the "Turkey Grievance" in 1981. It's a good way to illustrate … Continue reading Vulcan vs. the Machinists’ Union: The Turkey Grievance
New Method and Device for Breaking and Removal of Protruding Pile Parts
L.V. Erofeev, VNIIstroidormash V.A. Nifontov, VNIIstroidormash D.A. Trifonov-Yakovlev, VNIIstroidormash D.C. Warrington, Vulcan Iron Works Inc. This article first appeared in the First June 1993 issue of Pile Buck, and is reproduced here with some updates. Related information is as follows: Click here for trip reports of the one test of this device in North America. … Continue reading New Method and Device for Breaking and Removal of Protruding Pile Parts

