The latest in our series of monographs on vibratory pile drivers, this one takes us back to the beginnings of vibratory pile driving in the Soviet Union. It was prepared for the ReSEARCH Dialogues at the University of Tennessee at Chattanooga in April 2021.

The contents of this are as follows:
- The paper itself, in pdf format
- It’s also available at researchgate.net
- The chapter in Tseitlin et.al. (1987) from which the model comes from
- A video slide presentation is below:
The abstract is here:
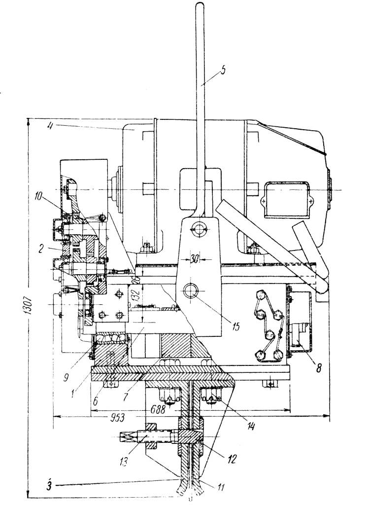
The technique for driving piles by vibration (as opposed to impact) has been an important component of deep foundations and retaining wall installation since it was first demonstrated in the Soviet Union in the late 1940’s. The Soviets originally developed the technology and applied it to a wide variety of pile types. Nevertheless, the analytical methods they developed to estimate the performance of these machines have not been widely disseminated outside of the country, either before or after the breakup of the Soviet Union. In this paper one specific model, analysing longitudinal vibratory performance using a purely plastic/Coulombic model of soil resistance, is reconstructed and discussed. The model is compared with the most disseminated Soviet model for sizing vibratory pile drivers and predicting performance. Some discussion on Soviet vibratory modelling beyond the model presented is also included.


9 thoughts on “Reconstructing a Soviet-Era Plastic Model to Predict Vibratory Pile Driving Performance”