Above is a chart from 1965 of knockout rings for Vulcan hammers from the #2 to the 020/200C series. The knockout ring is, in some way, a short version of the capblock follower/shield for softer cushion materials. It replaces the integral ring which has been standard on Vulcan hammers. (Some explanation of both is here.) Vulcan’s literature from the 1970’s explained it in this way:
To facilitate the quick change of cushion material to eliminate down time on the pile rig the Knockout ring configuration was introduced. It is common practice to have one or more extra Knockout Ring cushion receptacles on the job site to insure quick change and continuity of driving time.
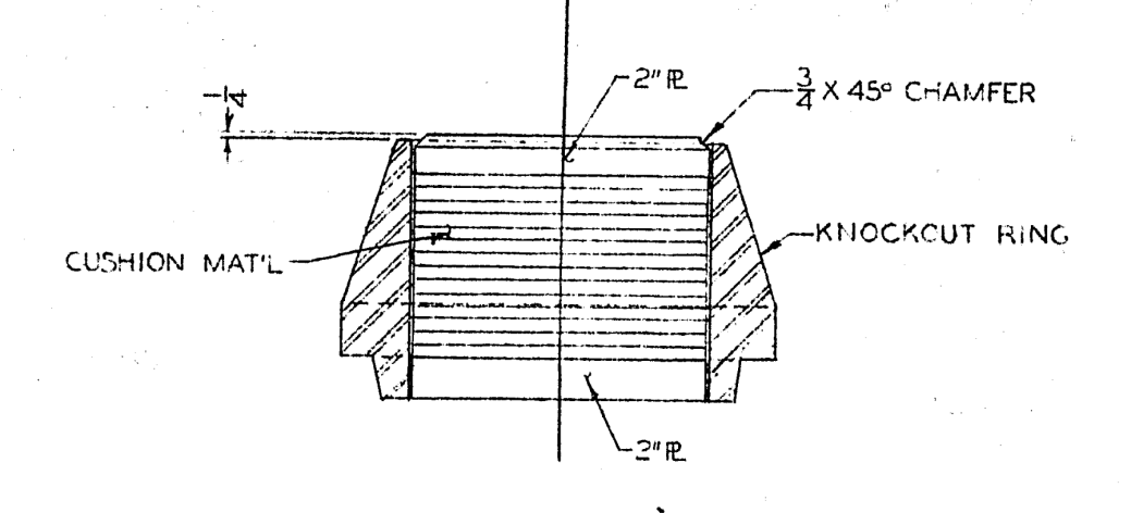
As in the Integral Ring configuration, this type has the same vertical depth limitation by virtue of design…
With the Knockout Ring configuration used…it is necessary to use both a Top Plate and a Bottom Plate. the Bottom Plate is required to prevent the cushion material from extruding underneath the Knockout Ring laterally…
The arrangement Vulcan had in mind is shown below, again from a 1965 drawing.

The problem with the bottom plate was that it shortened the cushion stack. When it is omitted, the problems Vulcan anticipated take place, and the knockout ring gets knocked out (by the ram point clipping the top of the ring.) It’s also inadvisable to use one in a situation where there is a great deal of “bounce” (low impedance pile, high quake soil) in the hammer-pile-soil system.
Knockout Rings weren’t intended as a repair for damaged integral ring, but were sometimes used that way.

