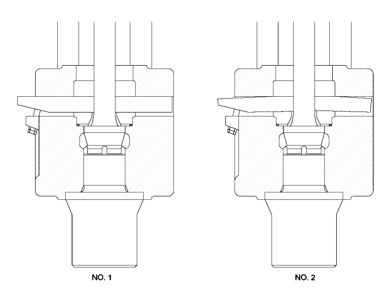
Sometimes it is difficult not to tighten the Ram Keys too much. Driven with a heavy weight a Ram Key can easily be driven so far as to bend. Figure No.1 shows a Ram Key properly seated. Figure No.2 shows a Ram Key driven too far and bent. The key is tight when it just starts to leave the seat at either end.


3 thoughts on “Vulcan Offshore Tip #2: Ram Keys Too Tight”